Rollläden - Alu-Light Box

Manuelles Modul für massive Alu-Light Matten (vertikaler oder horizontaler Lauf)

Die Alu-Light Box ist extra für die leichte, aus massivem Aluminium gefertigte Rollladenmatte Alu-Light konzipiert worden. Das System ist für einen nachträglichen Einbau geeignet. Als Mechanik ist eine Federwelle mit integriertem Gewichtsausgleich verbaut. Im Hinblick auf die Laufrichtung kann hier zwischen vertikal und horizontal gewählt werden. In Standardmaßen ist das System sogar lagermäßig verfügbar.

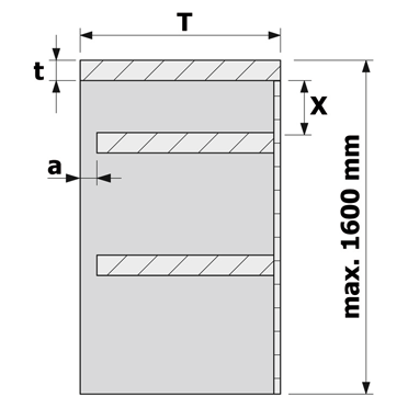
Planungshinweise

T:innenliegend min. 315 mm / vorgesetzt min. 300 mm
a:innenliegend min. 30 mm / vorgesetzt min. 13 mm 
(bei Schlössern ggf. mehr)
Breite (Außenkorpusmaß):max. 1200 mm / min. 400 mm

Weitere Maße auf Anfrage

SchrankhöheMaße X
Seitenstärke t 16 mm 
Führung vorgesetzt
Seitenstärke t 18 mm
Führung vorgesetzt
Seitenstärke t 19 mm 
Führung vorgesetzt 
oder innenliegend
250 – 650 mmX = 103 mmX = 101 mmX = 100 mm
651 - 1200 mmX = 123 mmX = 121 mmX = 120 mm
1201 - 1600 mmX = 137 mmX = 135 mmX = 134 mm

Montagehinweise

In nur 4 einfachen Schritten eingebaut. Ohne fräsen.

Montage - so einfach geht’s:

  1. Lisene auf die Seitenteile der Box aufclipsen
  2. Box zur Hälfte in den Schrankkorpus einschieben
  3. Führungsprofile rechts und links auf Seitenteile der Box aufschieben
  4. Die Box komplett einschieben und Führungsprofile an der Schrankwand anschrauben

Inhalt:

  1. 1 x Box
  2. 1 x Lisene aus Aluminium
  3. 1 x Paar Führungsprofile aus Aluminium
Sprache
IT
© 2025 Rudolf Ostermann GmbH